Who Else Wants to Know What Georges Lakhovsky
Was Using in His Cancer Clinics In France in the 1930's?
His work was based on a new understanding of the
way energy flows through the human body and throughout the universe!
Georges Lakhovsky postulated that
each cell works as a micro-cellular oscillator with energy fields
resonating with the "twisted filament" (which is like a tiny "oscillator")
in the neuclei of living cells. Thus, the cell acts as a transmitter
and receiver of radio-electric waves that are energizing and
revitalizing. With Tesla's help, he constructed the Multiple
Wave Oscillator in the mid-1920s. It received U.S. patent #1,962,565
in 1931. In designing the Multiple Wave Oscillator Lakhovsky's
goal was to transmit a full spectrum of harmonics allowing each
cell in the body to pick up and resonate with the appropriate
frequency. Disharmonic cells that were previously sick would
thus be entrained by the correct harmonics ringing them into
the normal state so that the body could thus heal itself. With
proper resonance the normal mechanisms of detoxification will
work properly bringing on more ultimate health.
Lakhovsky died in 1942. The patent expired in 1951 and is now in public domain.
Since, MWOs' and similar devices have been used extensively
in therapy clinics throughout Europe. Americans continue to "experiment" with
MWOs' which have been documented to be of value in treating cancer, arthritis,
and other illnesses.
We have involved ourselves in many areas of research over the years and consider
this to be one of the most important. We are happy to be able to share the highest
quality Multiple Wave Oscillator currently available anywhere. Our Ultimate Multiple
Wave Oscillator is the most authentic MWO since Lakhovsky's era with perfectly
tuned antennas.
These days everyone wants to build electronics smaller and smaller and replace
old engineering with solid state parts which are cheaper and facilitate bulk
production. Lakhovsky saw the nucleus of each cell as an oscillator specifically
due to the dielectric character of the fibrous chromosomes and their relationship
to the other conductive aspects of the cell. The part that some seem to miss
is that these cellular oscillations are in resonance, or controlled by, the cosmic
rays that Tesla spoke quite a bit about. The continuous bombardment of our 3
dimensional space with cosmic radiation that is very distinctive from conventional
hertzian frequency is important to attempt to understand the background of the
Multiple Wave Oscillator (MWO). Many conventional attempts at engineering MWO
like devices yield questionable results due to fundamental misunderstanding;
the MWO acted as an entrainment device to allow the unimpeded flow of cosmic
radiation through blocked cell structure where this flow is impeded. The missing
resonance with the cosmic radiation due to internal malfunction, such as poor
eating habits, smoking, overabundant toxic intake, etc. causes cells to function
improperly and NOT a direct result of improper internal energetic regulation
mechanisms. Possibly the most important aspect of Lakhovsky's work is the connection
of cellular oscillation with the vibratory mechanism of the universe. With this
in mind, we can be sure there is never any shortage of energy but rather that
the human cellular structure is sure to block the healthy energy flow of the
universe in states of overwhelming toxemia.
Tesla and Lakhovsky both were engineering high frequency coil systems with collaboration
resulting in the engineering of the MWO. Both of them were engineering devices
which emitted very unique oscillations which Tesla called non-Hertzian waves;
more recently the term Scalar Wave has been used by Tom Bearden, a prominent
figure developing new energy systems. Re-engineering Lakhovsky's MWO without
taking this into consideration is bound to come up short.
Lakhovsky used a resonant bi-polar tesla coil as the
power supply which means the coil had one tuned primary that set 2 distinctive
secondary coils into resonance at the same time. He used a double spark gap which,
by spreading the discharge over two simultaneously sparking gaps the timing and
consistency of the discharge can be more precisely adjusted. This is very important
because the gap is the gate which blocks the flow of energy while the previous
discharge is ringing the coils and antennas. More precise control is important
because the proceeding oscillations must not occur prior to the proper ringing
of the system. The spark gap is also an important component in Tesla technology
engineering because the specific character of the discharge across the gap(s)
may hold the key to producing the proper non-Hertzian component for optimal performance.
The oscillations of the resonant coils, in Lakhovsky's MWOs were coupled to a
unique antenna which consisted of concentric, hollow tubular metallic
elements of nearly complete circles. Each ring is tuned to a specific musical
note the outer ring starting with a C where the set of concentric rings together
makes a full harmonic scale. Each outer ring is thus harmonically coupled to
one of the bipolar secondary coils thereby setting the entire set of rings (antenna)
into oscillation. The two antenna sets are separated by a number of feet bathing
the area between them with the full scale of harmonics above about 500,000 Hz
and reaching into the billions of Hz (Gigahertz). The energy allows the cells
to regain their proper oscillation with incoming cosmic energy and was likely
to have been emitting non-Hertzian (or Scalar) waves. The researcher sits in
a non-conductive chair between the two antennas. The original system was apparently
NOT grounded yielding an effect where the energetic oscillations which are transmitted
between the two antennas seemed to ground in the area of imbalance in the researcher's
body! The plasma tube that was commonly used with the MWO used a mixture of noble
gases ionized by the same tuned bipolar Tesla coil to effectively ionize targeted
locations on the body. The same high frequency oscillations are in this case
being absorbed by the conductive gases in the vacuum tube rather than the tuned
antennas.
The main key to the MWO technology is that external, harmonic rich energy, externally
applied without direct contact is paving the way for cosmic oscillations of the
universe to regain their regulation of cellular oscillation thus allowing energy
blockages to disappear and further allowing the body to function normally for
proper detoxification and to facilitate healing ourselves.
(JV)
The Ultimate Multiple Wave Oscillator is the result
of over 10 years of research and development which included collaboration with
Serge Lakhovsky and the use of original Georges Lakhovsky MWOs. The Ultimate
Multiple Wave Oscillator performs nearly identical to the original units with
the exception that the power level has been reduced. Original power levels incidentally
were higher than necessary as no heating is necessary for appropriate harmonic
resonant effects to occur. Lower power levels will not interfere with communication
signals.
We urge you to contact any local alternative health professional that is interested
in effective technology and urge them to acquire an Ultimate MWO for research
where the energy can be used publically or get one for yourself; You will be
happy you did!
The Multiple Wave Oscillator (MWO) was invented by Georges
Lakhovsky with
the assistance of Nikola Tesla for his expertise in engineering
of radio technology. They were used historically in French cancer
clinics in the 1920s and 1930s. We are proud to bring available
the most accurately replicated Multiple Wave Oscillators since
Lakhovsky's original.
Each "Ultimate MWO" comes with two tuned hollow tri-metal antennas
(see intro), a bipolar tesla coil power supply contained in a handy
carry case with two
sealed, rechargeable batteries for operation without incoming or
outgoing interference. Battery charging system is also included.
All units are hand made to order requiring 2 to 3 weeks to be shipped after order
is confirmed and paid. This is a high quality research instrument requiring pre-purchase
research by the researcher.
The heart of the MWO is a precision tuned bipolar tesla coil which is tuned to
the outer two antenna segments. A specially designed adjustable inverter and
dual spark gap allows for precision adjustment. These units operate with sealed
Lead Acid rechargeable batteries (included) and are very easy to operate.
For direct application on target areas of the researchers body
you may choose to use the plasma tube attachment that is also included (shown
on right) with each Ultimate MWO kit. Plasma is ionized gas which is produced
inside a glass enclosed tube filled with argon and other noble gases. The ionization
process when these gases are electrified by the full range harmonics of the MWO
power supply yields harmonics of light and radio frequency for regenerative research
effects.
These units were designed with years of research which included discussions with
Serge Lakhovsky, Georges's son as well as experimentation with functional vintage
MWOs from the 1930s. This represents the most authentic MWO available anywhere!
How it works:
The researcher gets between two special Antennas which radiate a
full spectrum of harmonics in the radio-frequency spectrum. This antenna shown
on the left is the latest improved design with ball ends on each tube. Take note
of the concentric rings on this antenna; the outer ring is tuned to a C, the
next smaller to a C#, with each whole set of rings sounding a full harmonic C
major scale! These research instruments are hand-built with the quality of a
handmade musical instrument with potential going far beyond that. This model
is not to be mistaken for the Bob Beck print plate antenna models popularized
since the late 80's; these are designed from the original Lakhovsky specs. The
tuned antennas coupled with the bipolar tesla coil put this design in a completely
different league than the Beck style! These units are literally designed to cover
the entire range of harmonics and due to the precision tuning involved in the
manufacturing process!
Current researchers such as Robert Becker (author of The Body Electric and Cross
Currents) bring Lakhovsky theory into the forefront of current health research:
Every living being emits radiation. The nucleus in each cell in
our body functions as an electrical oscillator with insulative
tubular filaments and chromosomes in a conductive fluid. As Mark
Clements (Author of The Waves
That Heal and english translator of Lakhovsky's The Secret of Life)
points out: "These filaments constitute minute oscillating circuits endowed
with capacity and inductance and capable of oscillating according
to a specific frequency. They are comparable to the circuits, coils,
and windings of radio-recievers." The
truth may be that our cells should rather be compared to radio-transcievers
in that our cells both transmit and receive radio oscillations.
(No wonder cell phones give me such as disruptive headache - they
are not tuned to my cells!)
Every cell in the body is then exposed to its perfect frequency. When cells are
resonated properly with the appropriate vibratory oscillation it allows the body
as a whole to work very efficiently in eliminating toxins and breaking up blockages
of energy as well as tumor research. The MWO makes every cell in your body vibrate
at its original resonant frequency - this could be the frequency of youth!
Here's an Vintage Article For You
that We've Uncovered from 1925...
The following article by George Lakhovsky first appeared in
Radio News magazine in 1925. He discusses his research and
theories with a device he called a Multiple Wave Oscillator
(referred to as a "Radio-Cellulo Oscillator") which was his adaptation of Tesla
Coil which he used for healing. This article is posted for educational purposes
only and does not represent any specific products in our catalog.
CURING CANCER WITH ULTRA RADIO FREQUENCIES
By George Lakhovsky
A new and important application of very short wave-lengths is described in
this article by one of the leading French scientists.
The new application of short wave-length oscillations described in this article
is one of the most important ever found, and we are pleased to present to our
readers this article by Mr.George Lakhovsky, the well known French scientist.
The experiments described were carried out in collaboration with several
doctors and scientists of high standing and it seems from results obtained,
that the very high frequency treatments will play an important role in the
future.
We shall publish in a later issue another article on this new system, together
with the effects of ultra radio frequencies in the treatment of other diseases
in human beings. Since November, 1923, I have published in various technical
and radio publications, several papers in which I explained my theory that
the instinct or special feeling, which permits birds to direct themselves in
space, is only the results of the emission and reception of rays by living
beings.
While developing this theory, I explained how thoroughly I was convinced
that science will discover, some day, not only the nature of microbes but
the radiation which they produce, but also a method of killing disease bacilli
within the human body by means of the proper radiations. The researches I
have made by means of special apparatus have shown such results, that I believe
my theory to be correct. This theory is that life is born from radiations,
kept going by radiation and suppressed by any accident producing the destruction
of the oscillatory equilibrium, especially by the radiations of certain microbes,
which suppress those of the weaker cells.
Before going any further in our reasoning, it is necessary, in order to present
the facts to the uninitiated reader, to imagine what oscillations really are.
The motion of a pendulum will be used for this explanation. When a pendulum
is displaced from the position of equilibrium, it moves back and forth producing
what are known as synchronous oscillations, until the energy stored is entirely
exhausted. By means of a motor, a spring, or an electro-magnet, it is possible
to keep the motion of the pendulum of constant amplitude, producing undamped
oscillations.
If, on the contrary, the source of power is removed, the oscillations die down
and it is necessary not only to re-apply the power sustaining the oscillations,
but also to furnish additional energy to start the pendulum in motion. This
oscillation of a pendulum reproduces exactly what happens in the cells of a
living being.
----------------------------------------------------------------
BODY COMPOSITION
Our organs are composed of cells formed of protoplasm containing various mineral
matters and acids, such as iron, chloride, phosphorous, etc. It is by the combination
of these elements that the cells detect outside waves and vibrate continuously
at a very high frequency, probably higher than the period of X-rays or over
all other vibrations known and measured today.
The amplitude of cell oscillations must reach a certain value, in order that
the organism be strong enough to repulse the destructive vibrations from certain
microbes.
The astrophysicians are actually carrying out experiments of great interest
on the existence of vibrations, which have been called penetration rays and
of which the frequency is higher than that of X-rays and of the alpha, beta
and gamma rays of radium.
Such rays, according to the theory, are produced by the earth itself and some
others come from outside space.
Accurate measurements have proven the correctness of this theory. Therefore,
it is quite permissible to believe that these penetration rays, or at least
some of them, produce the vibratory motion of living cells and consequently
their life.
For instance, let us suppose a cell vibrates at a certain
frequency and a microbe vibrates at a different frequency; the microbe begins
to fight the cell through radiation, and sickness is started.
If the cell cannot repel the stronger vibrations and if the amplitude of its
own vibration is forced to decrease, the microbe gains in amplitude and its
vibrations begin to decrease and stop those of the cells, bringing on dangerous
sickness or death.
If, on the contrary,the living cell is started vibrating with the proper amplitude
by inside or outside causes, the oscillatory attack is repulsed. Such is my
theory.
The problem is somewhat similar to the situation in which a rescuer
finds himself when, coming to help a friend in a dangerous situation,finds
himself fighting hand to hand against strong aggressors. The rescuer does
not dare to fire his gun, fearing to harm his friend mixed up with the aggressors
in the melee.
Similarly, microbes and healthy cells are all exposed to electric or radio-active
action, which could be used to destroy the unwanted rays and it is difficult
to suppress them without harming or killing at the same time the cells which
are to be treated. In fact, since Pasteur, scientists have been constantly
searching for a means of destroying microbes. The great difficulty with all
methods found was that in destroying, the bacillae cell was attacked too. The
experience gained in cancer and tuberculosis treated with radium, X-rays, or
ultra-violet rays, shows how difficult is the world of the investigators.
----------------------------------------------------------------
A NEW METHOD
The remedy in my opinion, is not to kill the microbes in contact with the healthy
cells, but to reinforce the oscillations of the cell either directly by reinforcing
the radio activity of the blood or in producing on the cells a direct action
by means of the proper rays.
During January, 1924, I began to build, according to this
theory, and with the purpose of therapeutic applications, an apparatus, which
I have called the Radio-Cellulo-Oscillator, with the firm belief that the
cells vibrating at extremely short wave- lengths would find their own in the
Hertzian waves, which have the properties of producing
extremely short harmonics.
The cell with very weak vibrations, when placed
in the field of multiple radiations, finds its own frequency and starts again
to oscillate normally through the phenomenon of resonance.
This type of vibration are produced by the radio waves which I propose
to use, is harmless, unlike those of x-rays and radium. Their application,
therefore, does not present any danger for the operator.
I exposed in front of my apparatus, during long periods, a certain number of
microbes in culture, which developed themselves normally. I, myself, have never
felt the effect of these ultra
radio frequencies, although I remained for a great many days near the apparatus,
during the treatment applied to the living cells.
It is only when two living beings such as a cell and a microbe, are in contact,
that the rays produced by the Radio- Cellulo-Oscillator have any direct effect
upon cellular structure.
The experiments which I carried out at the Salpetriere Hospital in Paris, in
the service and with the collaboration of Prof. Gosset, were made with plants
inoculated with cancer, and the results were described in a paper presented
on July 26, last year, before the Biological Society. The text of this paper
follows.
"One knows that it is possible to produce by inoculation of Bacterium tumefaciens
in plants, tumors similar to those of cancer in animals. One of us obtained experimentally
by this method, a great number of tumors. These had various degrees of development.
Some of them dry up partially, but do not die entirely until the entire plant
or at least the limb bearing the tumor dies.
Even removed by surgical methods, these tumors grew again on the sick limb."
----------------------------------------------------------------
THE RADIO CELLULO-OSCILLATOR
"We propose to describe in this paper, the action of electromagnetic waves of
very high frequency obtained by means of the Radio Cellulo-Oscillator of George
Lakhovsky.
This apparatus produces wave-lengths of the order of two meters and less, corresponding
to 150 million cycles per second.
A first plant was submitted to the effect of the radiation one month after
being inoculated with cancer; at this time small tumors of the size of a cherry
stone were visible upon it. This plant was submitted to the rays twice, for
three hours each time.
During the following days, the tumors continued to grow rapidly in the same
ways as those on plants, which had not been submitted to the effect of radiations.
However, 16 days after the first treatment, the tumors began to shrink and
dry up.
(snip...)
(left) Photograph of geranium treated by means of an open
oscillating circuit:
This plant (center), innoculated with cancer on the 4th December 1924 was encircled
with an open metallic circuit of 30 cm. diameter and kept in position by an ebonite
rod. The photograph, taken 2 months after inoculation, that is to say at the
end of January 1925, shows the cancerous tumour developing together with the
plant which does not appear to be affected by it, whereas the control plants,
inoculated with cancer on the same date and shown here beside the treated plant,
have all perished.
(left) Photograph of same Geranium, 3 years after treatment with Lakhovsky's
Oscillating circuit, showing remarkable development. Two untreated control plants
are shown beside it.
A few days later the tumors were entirely dried up and could be very easily detached
from the limb of the plant by merely touching them.
The drying action of the radio frequency radiations is selective and affects
only the sick part of the plant.
Even the inside sick tissues were destroyed, although they were next to healthy
cells in the center of the limb, showing that the radiations had not affected
the healthy parts."
----------------------------------------------------------------
THE LENGTH OF TREATMENT
"Another plant was treated in the same way, except that it was exposed 11 times,
for three hours each time, to the radiations of the oscillator.
Sixteen days after the first exposure the tumors, which were rather large as
shown in one of the photographs, began to shrink and dry up and were easily detached
from the limb exactly as in the first case.
Again in this a case, the healthy parts of the plant were not affected in the
least.
A third plant exposed to the radiations for nine hours, that is, three treatments
of three hours each, was cured in the same manner as the two others.
Sixteen plants also innoculated with cancer, were left without treatment. They
have tumors in full activity, several of which are very large.
These experiments show conclusively that plants innoculated with cancer an be
treated and cured by means of the ultra radio frequency vibrations, whereas surgical
treatment fails.
"In conclusion I wish to call the attention of the reader
to the fact that I have obtained very conclusive results not only with a wavelength
of two meters, but with longer and shorter wave-lengths. The main thing is to
produce the greatest number of harmonics possible."
Such are the results of my researches with plants. At the present time, similar
experiments are being carried out with animals and it seems that the effect on
cancerous animals is the same as on cancerous plants.
I am highly pleased to present my theory and the results of my work in a scientific
review of the United States, this great country, which has always been in the
lead in the fight against this terrible sickness, cancer, and whose sympathy
and help I would greatly appreciate.
----------------------------------------------------------------
Are You Getting Our email updates yet? Get Yourself out of the
Dark and get the latest info on New Health Technology... Just fill in your
Name and email address below:
You'll also IMMEDIATELY get a free eBook about how Royal
Rife, one of Georges Lakhovsky's contemporaries, cured cancer with electronic
frequenies back in his day.
Lakhovsky Patents -- Patent
I / Patent II
The following 2 patents were granted to Georges Lakhovsky in 1934 and 1944, the
latter being posthumously granted.
Patent
I -- Patented June 12, 1934 1,962,565
UNITED STATES PATENT OFFICE
1,962,565
APPARATUS WITH CIRCUITS OSCILLATING UNDER MULTIPLE WAVE LENGTHS
Georges Lakhovsky, Paris, France
Application November 13, 1931, Serial No. 574,907
In France May 2, 1931
7 Claims. (Cl. 250-33)
The present invention has for its object an apparatus capable of sending out
simultaneously different wave lengths so that among these waves or their harmonics
there is found almost always one or several capable of producing the best effect
sought for any application whatever.
There is used for that purpose the property of open circuits having a fundamental
or natural self induction and capacity to oscillate upon a well determined wave
length if they are excited by electric impulses emanating from discharges of
any source.
The radiating part of the system, producing waves of various lengths, is therefore
constituted by a certain number of concentric open rings of different diameters,
which are maintained insulated by any appropriate means. These rings may or may
not be terminated by small spheres forming capacities.
These rings may be arranged either in the same plane or in different planes so
as to form any surfaces, such as portions of cones, spheres, paraboloids, ellipsoids,
etc. ..., these surfaces being of a nature to concentrate the waves in a determined
direction in the manner of a reflector, for example.
These rings may be fed by any producing device whatever of high frequency, for
example, a combination comprising a trembler coil (or any other transformer)
and a high frequency circuit provided with a self-induction coil and a capacity.
One or several points of this high frequency circuit is or are connected to the
end of one or several of the rings forming the radiating apparatus. The other
rings not connected are excited by induction.
The complete apparatus (coil, high frequency circuits, rings, etc. ...), may
be mounted in a box or upon a small board capable of sliding along a guide or
rocking so as to be able to be placed in the most convenient position.
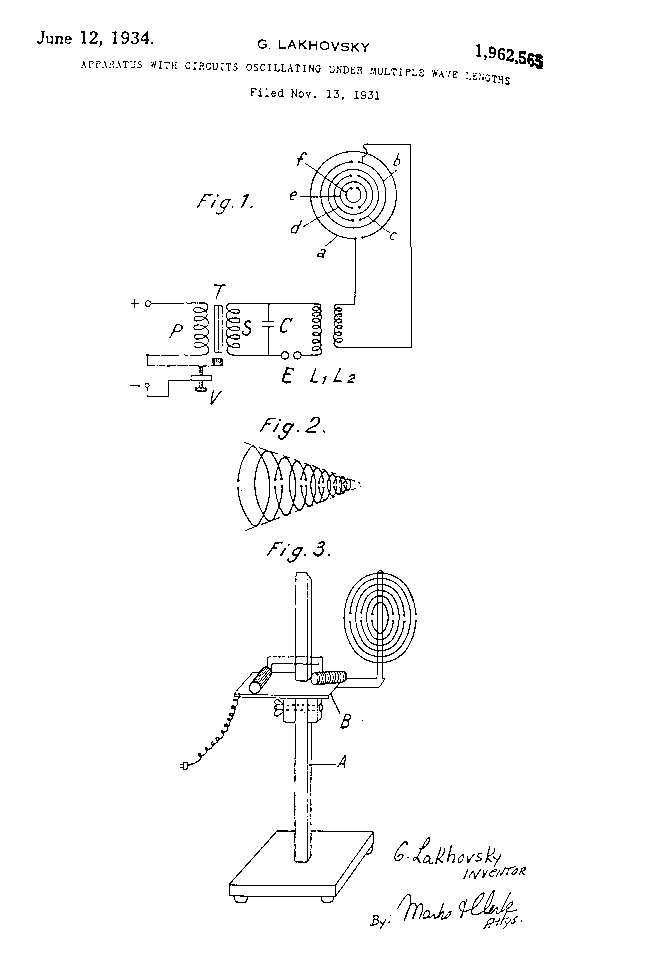
In the accompanying drawing, by way of example, not limitative, there is shown:
Fig. 1 a diagram of the system.
Fig. 2 the position of the rings in the form of a cone.
Fig. 3 the apparatus mounted upon a foot or base.
In Fig. 1 there is seen at T the transformer or coil (P the primary, S the secondary
of this coil), V, the screw of the trembler, C the condenser the discharge of
which across the spark gap E produces oscillations in the self-induction coil
L1, which in its turn acts by induction upon the self-induction coil L2; this
self-induction coil L2 is connected on one side to the first exterior ring "a",
on the other side to the following ring "b". It thus forms an electrostatic field
of high frequency which induces oscillations in the other rings "c", "d", "e", "f".
As a modification, L2 may be suppressed and the rings "a" and "b" may be connected
each to one of the ends of L1.
One of the ends, or even any point of the self-induction coils L1 or L2 may likewise
be connected to any one of the rings.
Fig. 2 shows the arrangement of the rings in the form of a cone.
The open circuits "a", "b", "c", ..., "f" can be constituted by solid conductors.
They can also be tubular circuits, this being advantageous, since, for the same
bulk, the radiating surface is larger. Finally, the area of the cross section
of each of these various circuits can vary from one circuit to the other for
instance, this area can decrease from the periphery (ring "a") to the center
(ring "f") of the radiating system.
Fig. 3 shows the apparatus mounted upon a foot A along which it can slide, in
order to be placed at any desired height and upon a hinge B which allows it to
be oriented upon the horizon.
I claim: -
1. An apparatus adapted to produce electric fields of high frequency having multiple
wave lengths, comprising a high frequency producing device, a series of high
frequency radiating circuits constituted by concentric insulated split rings
of different diameters, the split ends being spaced from each other and terminating
with small spheres.
2. An apparatus adapted to produce electric fields of high frequency having multiple
wave lengths, comprising a high frequency producing device, a series of high
frequency radiating circuits constituted by concentric insulated split rings
of different diameters and terminated by small spheres forming capacities.
3. An apparatus adapted to produce electric fields of high frequency having multiple
wave lengths, comprising a high frequency producing device, a series of high
frequency radiating circuits constituted by concentric insulated split rings
of different diameters and arranged in one and the same plane the split ends
being spaced from each other and terminating with small spheres, in staggered
position as regards adjacent rings.
4. An apparatus of the type described comprising a base, a plate slidably mounted
on said base, a support pivoted to the said plate, a series of open and insulated,
high frequency radiating circuits mounted on the pivoted support, and a high
frequency producing device for the excitation of the said circuits.
5. An apparatus adapted to produce electric fields of high frequency having multiple
wave lengths, comprising a high frequency producing device, a series of high
frequency radiating circuits, said circuits being open, insulated, and having
dimensions different from each other.
6. An apparatus adapted to produce electric fields of high frequency having multiple
wave lengths, comprising a high frequency producing device, a series of high
frequency radiating circuits arranged in the same plane, said circuits being
open, insulated, and having dimensions different from each other.
7. An apparatus of the type described comprising a transformer, a high frequency
energizing circuit fed by the said transformer and provided with a self-induction
coil and a capacity, a series of open and insulated high-frequency radiating
circuits having dimensions different from each other, and inductive connection
between two of these radiating circuits and respectively each of the poles of
the outgoing element of the high frequency energizing circuit.

Patent II --
Patented June 13, 1944 2,351,055
UNITED STATES PATENT OFFICE
2,351,055
TUBE FOR PRODUCING MULTIPLE WAVE LENGTHS
George Lakhovsky, New York, N. Y.; Anne-Marie Louise Lakhovsky, administratrix
of said George Lakhovsky, deceased, assignor to Henry S. Blum, Chicago, Ill.
Application November 21, 1941, Serial No. 420,006
11 Claims. (Cl. 250-33)
This invention relates generally to electric devices excited by electric impulses
and more particularly to multiple wave length conducting and/or producing means.
This invention has for its primary object the provision of such means disposed
within a vacuum tube or a tube containing rare gas or gases.
My work over a period of more than 20 years has led me to the belief that there
is a great need for means conducting and/or producing multiple wave lengths which
may be employed in many industrial and medical fields. Suitable apparatus for
producing waves of various lengths is disclosed in my U. W. Letters Patent No.
1,962,565, dated June 12, 1934. Embodiments of this apparatus have been in use
the world over. Because of the need for simplification in such apparatus so that
it may be handy and easily used by persons lacking skill in electrical matters,
I have concluded that by providing one unit which incorporates oscillation generating
means and another in which the wave lengths are produced, the apparatus may be
more universally used in the treatment of cellular life in therapy, in the aging
or treating of liquids and in other industrial fields.
The present invention deals with those units, preferably combined with one another
and constructed as a portable device and as stated above, has for its major object
the provision of a unitary multiple wave length producing and/or conducting device
in the form of a vacuum tube.
The present invention further contemplates the incorporation in such a tube,
of means for varying the effect of wave lengths, or selectively employing the
means therefor enclosed in or forming part of said tube.
This invention further seeks to provide a tube of the indicated type incorporating
means for generating oscillations.
Another object of the invention is to provide a single unit which contains an
oscillation generator, which produces waves of definite frequency, and further
inductance mans each permitting emanation of wave lengths of various values.
The structural features of my invention also form a material part of this disclosure,
the objects and advantages being attained in structures such as shown in the
accompanying drawing, which exemplifies the invention. The following specification,
based on said drawing, more clearly points out the purposes and advantages of
my invention.
In the drawing:
Fig. 1 is a vertical, partial sectional, partial elevational view of a tube incorporating
features of my invention.
Fig. 2 is a similar view of an alternate form thereof.
Fig. 3 illustrates in a similar manner a modified form of my invention.
Fig. 4 is a fragmentary sectional view of a modification made in accordance with
the invention.
Fig. 5 is a similar view of another modification.
Figs. 6 and 7 are sectional views illustrating type of wires used in either of
the forms of my invention as shown in Figs. 1, 2 and 3.
Fig. 8 is a partial sectional, partial elevational view illustrating a tube incorporating
a plurality of grids and selective capacity means for varying the effects of
said grids.
Fig. 9 is a similar view of a tube, such as shown in Figs. 1 or 2 and incorporating
oscillating or vibrating means.
In that form of my invention shown in Fig. 1, there is provided a sealed preferably
transparent envelope (10) made of glass or like material affixed in the usual
manner to a screw or Edison plug (11). The latter is conventionally provided
with a shell terminal (12) and a central terminal (13). The support of seal (14)
of the tube serves to hold wires such as (15) and (16) which connect to the terminals
(12) and (13).
Connected to the wires (15) and (16) is a primary inductance member in the form
of a loose coil (17) which may be disposed axially of the envelope (10), as shown.
The upper end of said member (17) forms a tight wound coil (13) which serves
to radiate the strongest induced wave lengths.
Surrounding the primary inductance member (17), there are arranged a plurality
of separate coils of wire each being of different length and capacity. Thus,
I provide a coil (19) having greatest capacity and successive coils (20), (21),
(22), (23), (24) and (25), each having less capacity the the preceding coil.
These coil (19) to (25) form secondary inductance means each permitting emanation
of a wave length of different magnitude and value than the other.
I may support the secondary coil in several ways. As shown, I prefer to provide
a dielectric member such as a glass sleeve (26) surrounding the primary inductance
wire member (17) and to mount the secondary coils (19) to (25) on the outer surface
of said sleeve, leaving the coil (18) exposed at the top thereof. In order to
effectively support and centralize the glass sleeve (26), I provide spacing washers
(27) and (28) of mica or the like, top and bottom, and provide a supporting cross-piece
(29) on the lower portion of the wire (17).
The tube above described may be employed as indicated for the treatment of cellular
structures by connecting it to any one of the rings in the electrostatic field
of high frequency, such as shown in said U. S. Letters Patent No. 1,962,565,
each of the coils (18) to (25) producing by induction a different wavelength,
as can be understood.
In the form of my invention shown in Fig. 2, the envelope (10a) is somewhat differently
shaped, and the wire (17a) straight instead of arranged as an open coil. In other
respects, the structure follows that described with reference to Fig. 1.
As show in Fig. 3, there may be arranged a plurality of open rings (30), (31),
(32), (33), (34), (35), (36), (37), (38), (39) and (40) in frustro-conical form,
for instance, with the largest of said rings at the top and the smallest one
adjacent the bottom. I have shown said rings as supported, for instance, by glass
posts (41) and (42), said posts being supported on the seal (14b), as by a band
(43). I provide extensions for the terminal wires (15a) and (16a) and connect
said extensions (44) and (45) to the upper ring (30) and the next lower ring
(31), respectively.
The rings (30) and (31) may become the primary inductance members, whereas the
remaining rings constitute the secondary inductance members as before set forth.
Electric current conducted to the suitably spaced rings (30), (31) will cause
a spark (48) to be drawn between the rings (30) and (31) providing oscillations
emanating from electrical discharges there-between and causing the radiation
of waves of various lengths within the envelope (10b) and affecting the remaining
rings.
In Figs. 1 and 2, I have shown the secondary coils as formed of wires having
uniform cross-section. Fig. 4 illustrates how such wires may be made progressively
smaller in the succeeding coils (19c), (20c), and (21c), etc. In such various
manners, the wave length producing effect of the secondary coils or rings may
be arrived at.
The secondary coils or rings may be round or somewhat flattened wire as shown
in Fig. 6 or tubular as in Fig. 7, offering a yet greater flexibility of design.
The devices of Figs. 1 and 2 above described may be incorporated in the system
shown in said U. S. Letters Patent by connecting one of the rings (a), (b), (c),
(d), (e), or (f) with plug (11) of Fig. 1, since either terminal (15), (16) is
in contact with primary inductance member (17). To this end a conductor (not
shown) connects such a ring with said plug or socket.
In Fig. 8, I have shown a modification of the invention which comprises a vacuum
tube (50) containing a plate (51) and a plurality of different wave lengths producing
grids (52), (53), and (54). I connect each grid with a variable capacity device,
such as (55), (56), and (57) carried by said tube (50) and preferably by its
base support (62), whereby the grids may be selectively connected into an operating
circuit (not shown) by means of the respective prongs (58), (59), and (60), and
the place prong (61). Heating or other exciting means may be incorporated in
the tube in a well-known manner. This combination tube (50) is designed to replace
a plurality of known tubes each operating with different and variable wave length
effect, more exterior manipulation at said base support brings about change of
the capacities (55), (56), and (57) and cutting in one or more of the grids (52),
(53), and (54).
The effect of the spark as produced in form of the invention depicted in Fig.
3 may be further utilized in Fig. 9 in which I also incorporate a vibrator (62)
which produces electrical oscillations by a spark intermittently generated between
the end of the primary inductance member (17d) and vibrator armature (64). In
other respects the structure follows that of Fig. 1.
It may be noted that any type of spark producing or oscillation generating means
may be substituted for the vibrator shown. The tubes shown in Figs. 3 and 9 may
be used in the manner described for Fig. 1 by connecting one terminal of the
base as set forth to produce an induction effect. These tubes may be also connected
across both terminals with a suitable potential to obtain the spark effect.
From the foregoing it may be seen that I have provided tubes in various forms
for the purpose of generating and conducting multiple wave lengths. Other forms
of the invention may be produced within the spirit and scope of the invention
as claimed.
Having thus described my invention, what I claim as new and desire to have secured
by Letters Patent, is:
1. A device of the character described comprising a vacuum tube having an envelope
and base, primary inductance means, and a plurality of separate secondary inductance
means of different length for radiating waves of various lengths extending above
said primary inductance means, all said inductance means being arranged within
said envelope.
2. A device of the character described comprising a vacuum tube having an envelope
and base, a primary inductance member axially arranged in said envelope, and
a plurality of secondary inductance members spaced apart and independent from
each other each member surrounding a respective portion of said primary inductance
member and within the field of influence thereof.
3. A device of the character described comprising a vacuum tube having an envelope
and base, a primary inductance member axially arranged in said envelope, and
a plurality of secondary inductance members each surrounding the primary inductance
member and within the field of influence thereof, each of said secondary inductance
members having a different wave length effect than the others.
4. A device of the character described comprising a vacuum tube having an envelope
and base, a primary inductance member comprising a pair of split rings in inductive
relation, and a plurality of secondary inductance members each comprising split
rings.
5. A device of the character described comprising a vacuum tube having an envelope
and base, a primary inductance member comprising a pair of split rings in inductive
relation, and a plurality of secondary inductance member each comprising split
rings, said latter rings being arranged in different planes and being of different
length to produce a different wave length effect.
6. In a device of the character described, means for producing multiple wave
lengths comprising a wire member, enclosing dielectric means for said member,
and a plurality of separate wire coils of different lengths on said dielectric
means and in the field of inductance of said wire member.
7. In a device of the character described, means for producing multiple wave
lengths comprising a wire member, enclosing dielectric means for said member,
and a plurality of wire on said dielectric means and in the field of inductance
of said wire member, each coil extending over said wire member and having a different
number of convolutions than the others.
8. In a device of the character described, means for producing multiple wave
lengths comprising two split rings in inductive relation, and a plurality of
split rings in inductive relation to the two split rings.
9. In a device of the character described, means for producing multiple wave
lengths comprising two split rings in inductive relation, and a plurality of
split rings in inductive relation to the two split rings, the plurality of rings
being of smaller diameter than the mentioned two rings and each progressively
smaller than the others.
10. In a device of the character described, means for producing multiple wave
lengths comprising two split rings in inductive relation, and a plurality of
split rings in inductive relation to the two split rings, the plurality of rings
being of smaller diameter than the mentioned two rings and each progressively
smaller than the others, all of the rings being arranged in frusto-conical disposition.
11. In a vacuum tube having a primary inductance member and secondary inductance
members, a vibrator arranged in the field of influence of said primary inductance
member and secondary inductance members, a vibrator arranged in the field of
influence of said primary inductance member for affecting the induction of said
secondary members.

Check Out Our New Model:
A Multiple Wave Oscillator
With 4 times the output power of our previous unit!
Here is what you'll get with your Ultimate MWO Kit:
Precision Power Supply in non-conductive rugged enclosure
Tuned BiPolar Tesla Coil in power supply
Two Precision Tuned Tri-Metallic hollow tubular antennas
Two Antenna stands each with 3 caster wheels
All necessary hookup wires
Glass argon tube light accessory (similar to a violet ray)
That's all the'll
let us say about this due to regulations.
You can let your imagination fill in the blanks!
Easy to use without
complex manuals
|
- Please note that these units run on 220 Volt Power so an
additional transformer is required to use it on normal 110
Volt Power Systems throughout the US, Canada, Japan and many
other countries. For more information about this please contact
us.
Our Brand New Multiple Wave Oscillator also makes the best Colloidal
Silver ever!
This Colloid is supercharged with Harmonic Energy.
You can even
make Colloidal Gold and other colloids simply by purchasing additional
electrodes from a precious metal supplier.
You can order using our secure system or call toll free in US
1-866-747-7447 or international +1-541-434-0318. Getting the
Best Multiple Wave Oscillator available does require an investment
of $6395. USD. These units are hand-made and normally ship within
3 to 4 weeks after your order is placed. Occasionally an influx
of orders may delay the construction of your MWO as all units
are made on in the order that they are received. Contact us for
our schedule of production if you'd like.
Here's how to order right now!
To order
your Ultimate Multiple Wave Oscillator just click below

Wishing you the best
of health,
Joshua Korn, Independent Researcher
P.S. If you have any questions about the MWO
or similar products - don't hesitate to contact me. I look forward
to speaking with you!
Enter Your Name and Email Address Below
for our latest free eBooks about Alternative Health Technology!:
© Copyright 1997-2004 www.futuretechtoday.com
- All Rights Reserved
++1-541-434-0318 tele - 1-866-747-7447 toll free in US
Disclaimer: The
Statements made on this website have not been evaluated by the
Food and Drug Administration. Not intended to diagnose, prevent,
cure, or treat any disease. |